Мы используем cookie для наилучшего представления нашего сайта. Подробнее об этом в Политике конфиденциальности.
Ок

Северск

Ваш город:
Северск (Томская область)?
Нет
Да
Каталог
Каталог Написать в WhatsApp
Мотоэкипировка

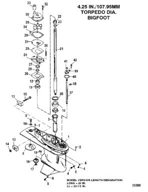
Корпус коробки передач, приводной вал 2.31:1 передаточное число 2-Х ТАКТНОГО ПЛМ MERCURY 60 Серийный номер от 9973100 до 0P016999

Корпус коробки передач, приводной вал 2.31:1 передаточное число 2-Х ТАКТНОГО ПЛМ MERCURY 60 Серийный номер от 9973100 до 0P016999 в Новосибирске: актуальный каталог, цены, фото, описание. Купите корпус коробки передач, приводной вал 2.31:1 передаточное число 2-х тактного плм mercury 60 серийный номер от 9973100 до 0p016999 в кредит – оформите заявку онлайн за 1 минуту!

Оригинальные запчасти

Артикул НАИМЕНОВАНИЕ Кол-во деталей в узле Примечание Наличие Цена Аналоги Фото
1 9011G92 GEAR HOUSING (Complete)

Под заказ

1

Под заказ

уточнить

Купить
2 9011G94 GEAR HOUSING (Complete)

Под заказ

1

Под заказ

уточнить

Купить
3 9011G96 ORD 1667-9011G92

Под заказ

1

Под заказ

уточнить

Купить
4 9011G48 GEAR HOUSING

Под заказ

1

Под заказ

уточнить

Купить
5 9011G59 Корпус редуктора (GEAR HOUSING ASSEMBLY, Basic)

Под заказ

1

Под заказ

уточнить

Купить
6 9011G60 GEAR HOUSING

Под заказ

1

Под заказ

уточнить

Купить
7 8M0084244 Штифт (PIN - DOWEL)

Под заказ

1

Под заказ

уточнить

Купить
8 43046 трубка (TUBE, Oiler)

Под заказ

1

Под заказ

уточнить

Купить
9 79953Q04 Болт дренажный 0.375-16х0.25 (SCREW KIT @2)

Под заказ

2

Под заказ

уточнить

Купить
10 8M0058389 Болт (SCREW KIT @2)

Под заказ

1

Под заказ

уточнить

Купить
11 191833 Прокладка дренажного болта редуктора F80

Под заказ

3

Под заказ

уточнить

Купить
12 43044 Штифт (PIN, Dowel - Without Hole (.375 x .625))

Под заказ

1

Под заказ

уточнить

Купить
13 31640T07 Тример цинковый (TRIM TAB)

Под заказ

1

Под заказ

уточнить

Купить
14 825427 Болт (SCREW)

Под заказ

1

Под заказ

уточнить

Купить
15 45176 Шайба (WASHER, GEAR HOUSING STUDS)

Под заказ

1

Под заказ

уточнить

Купить
16 43040T1 Подшипник игольчатый (CARRIER ASSY)

Под заказ

1

Под заказ

уточнить

Купить
17 826134Q Цинковая защитная пластина (ANODE @3)

Под заказ

2

Под заказ

уточнить

Купить
18 401386 Гайка (NUT-M6 HEX, NYL I)

Под заказ

1

Под заказ

уточнить

Купить
19 4000333 Болт (SCREW)

Под заказ

1

Под заказ

уточнить

Купить
20 44484T Шестерня ведущая (GEAR-PINION)

Под заказ

1

Под заказ

уточнить

Купить
21 35921 Гайка

Под заказ

1

Под заказ

уточнить

Купить
22 850307 Кулачок передачи (CAM-SHIFT CONTROL)

Под заказ

1

Под заказ

уточнить

Купить
23 42677A1 Шарикоподшипник (BEARING KIT)

Под заказ

1

Под заказ

уточнить

Купить
24 44492A1 Регулировочные кольца (shim set)

Под заказ

1

Под заказ

уточнить

Купить
25 826736A1 Приводной вал (DRIVESHAFT ASSEMBLY)

Под заказ

1

Под заказ

уточнить

Купить
26 826737A1 DRIVESHAFT ASSEMBLY

Под заказ

1

Под заказ

уточнить

Купить
27 42461A1 Пластиковое кольцо (SLEEVE/RING KIT)

Под заказ

1

Под заказ

уточнить

Купить
28 43055A4 WATER PUMP BASE ASSEMBLY, Aluminum Cover

Под заказ

1

Под заказ

уточнить

Купить
29 430331 Прокладка (GASKET)

Под заказ

1

Под заказ

уточнить

Купить
30 430472 Прокладка (GASKET)

Под заказ

1

Под заказ

уточнить

Купить
31 43036 Сальник (SEAL)

Под заказ

1

Под заказ

уточнить

Купить
32 43035 Сальник (SEAL)

Под заказ

1

Под заказ

уточнить

Купить
33 8172771 Прокладка (GASKET-WATER PUMP)

Под заказ

1

Под заказ

уточнить

Купить
34 817275A2 Ремкомплект помпы (HOUSING-W/P UPPER)

Под заказ

1

Под заказ

уточнить

Купить
35 8172761 Зеркало помпы - шайба плоская стальная

Под заказ

1

Под заказ

уточнить

Купить
36 8248327 SCREW

Под заказ

4

Под заказ

уточнить

Купить
37 826763A1 COUPLING

Под заказ

1

Под заказ

уточнить

Купить
38 826762A1 COUPLING

Под заказ

1

Под заказ

уточнить

Купить
39 8M0032833 Шпонка (KEY)

Под заказ

1

Под заказ

уточнить

Купить
40 43026Q02 Крыльчатка помпы Mercruiser alpha one gen ii MERCURY IMPELLER

Под заказ

1

Под заказ

уточнить

3 050

Купить
41 853906A1 Вал переключения передач "L"(SHAFT ASSEMBLY Shift)

Под заказ

1

Под заказ

уточнить

Купить
42 853907A1 SHIFT SHAFT ASSEMBLY

Под заказ

1

Под заказ

уточнить

Купить
43 29641 Шплинт (E RING @2)

Под заказ

1

Под заказ

уточнить

Купить
44 43052A4 Втулка (BUSHING ASSEMBLY)

Под заказ

1

Под заказ

уточнить

Купить
45 457101 Уплотнительное кольцо (O RING @5)

Под заказ

1

Под заказ

уточнить

Купить
46 8164641 Сальник (SEAL)

Под заказ

1

Под заказ

уточнить

Купить
47 8248326 Болт (SCREW)

Под заказ

2

Под заказ

уточнить

Купить
48 43024A7 Ремонтный комплект (REPAIR KIT, Water Pump)

Под заказ

1

Под заказ

уточнить

Купить
49 43035A4 Набор сальников (SEAL KIT)

Под заказ

1

Под заказ

уточнить

Купить

Нулевая цена не означает отсутствие товара. Оформите заказ, и менеджер сообщит вам цену и наличие товара, предварительно запросив их у поставщика

Главная Магазины
Корзина0
Профиль